电子绞边器的绞边原理和类型
城南二哥2021-08-18 11:42:05复合面料原理1090来源:复合布料_复合面料网
一、电子绞边器的绞边原理
电子绞边器无论怎样分,其绞边原理是一样的,区别只在于绞边综的驱动方式。
1.纺纱线的穿法
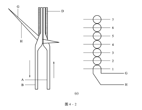
综丝纱“G”:这根纱穿过综丝“A”与“B”之间的骑马综“D”上的孔眼;绞纱“H”这根纱以针纱同样的办法穿在两根综丝之间。
2.绞边综的休闲
绞边综的休闲分为4个阶段:
阶段1:在开口的时刻,综丝纱“G”处于绞纱“H”的上面[图4-2(a)]
阶段2:综丝“B”被向上推,而综丝“A”与“D”一起被向下拉[图4-2(b)]。
阶段3:综丝“A”、“B”交叉时,绞纱“H”处于综丝纱“G”的下面[图4-2(c)]。
阶段4:综丝“B”和骑马综“D”一起被向下拉,而综丝“A”被向上推[图4-2(d)]。
二、电子绞边器的类型
根据使用织机类型的不同,电子绞边器分为:剑杆织机用电子绞边器;喷气织机用电子绞边器,喷水织机用电子绞边器。每一种电子绞边器又有各种型号和规格,可根据需要选用。




微信收款码